Заливка отмостки вокруг дома
Заливка отмостки вокруг дома осуществляется для создания водонепроницаемого покрытия, которое необходимо для нормального функционирования любого фундамента. Ее функция заключается в том, чтоб отводить поверхностные воды от фундамента.
Примыкает данный элемент к основе дома и имеет небольшой уклон. Именно такое расположение позволяет отводить воду. Поэтому при постройке дома, очень важно знать все особенности строительства, и какие бывают виды отмосток. Рассмотрим несколько вариантов.
Функции отмосток
1) Декоративная.
Отмостка становится не только элементом дома, который предохраняет основание дома от разрушения, но и частью архитектурного ансамбля или ландшафтного дизайна.
2) Защитная.
Наличие отмостки помогает фундаменту сохранить его целостную структуру в конкретном здании от поверхностных вод, при заморозках или при движении грунтов. В результате вода перенаправляется на значительное расстояние от основы дома, что позволяет избежать разрушений.
3) Практичность.
Иногда используется и строится отмостка как пешеходная зона, так и с учетом возможности проезда автомобиля. В таком случае отмостка будет получать максимальные нагрузки и это нужно учитывать при строительстве.
4) Функция утепления.
Отмостка также служить утепляющей конструкцией, которая повышает теплоизоляционные характеристики фундамента.
На каком этапе постройки можно делать отмостку?
Возведение отмостки необходимо начинать делать, выполнив облицовку стен или цокольной части здания. Однако, многие строители-любители сооружают ее по истечении 1-2 лет после постройки дома.
К чему приводит отсутствие отмостки?
Фундамент, не окруженный отмосткой, будет неравномерно подтапливаться грунтовыми водами, подмывающие грунт. Этот процесс способствует появлению дефектов на фундаменте здания и стенах. Если сооружение располагается на пучинистом грунте и отсутствует отмостки, то зимой пучинистый грунт насыщается водой и, замерзнув, неравномерно вспучивается. В результате такой грунт начинает давить основание дома, разрушая его. Отмостка у дома на пучинистом грунте должна иметь теплоизоляцию.
Технология постройки дома из несъемной пенополистирольной опалубки. Ответ на вопрос ищите в этой статье.
Как сделать фундамент на болоте можно узнать из этой статьи.
Разнообразие видов отмосток
Чаще всего в загородных домах возводится отмостка, в состав которой входит глина (толщина 10-15 см). Кроме того, что глина по своим природным свойствам способна отводить воды от фундамента, она играет роль еще и гидроизолятора.
Важно так же знать, что самый дешевый материал для изготовления отмостки – щебень. Однако в этом варианте есть свой недостаток – быстрое вымывание, и, как результат, отмостку часто необходимо ремонтировать, что не совсем выгодно.
Более надежным вариантом является щебень и цементный раствор. Для этого необходимо уложить щебень, важно его утрамбовать. Затем залить все раствором цемента. Такой подход позволит сохранить ваш труд на долгие годы.
Для тех, кто желает капитально обезопасить свой фундамент и жилище, в целом идеальный вариант – монолитная плита. Качество обусловливается прочностью материала. Важно отметить, что данный вариант не подойдет для тех участков домов, где грунты насыщены водами или являются глинистыми. Альтернативой монолитной бетонной плите станет отмостка, в состав которой входит раствор цемента и песка. Из такой полученной консистенции изготавливаются плиты.
Еще один наиболее распространённый вид покрытия отмостки – бетонный, который на сегодня стал самым использованным материалом. Перед началом покрытия, первым делом на подстилающий слой, поперек отмостки, необходимо установить деревянные рейки. Выкладывать их нужно на расстоянии 2-3 метра ребром. В обязательном порядке все рейки должны быть пропитаны битумом. Затем заливают бетонный раствор, равняют согласно установленной конструкции из реек. Минусом данного покрытия является то, что под воздействием больших морозов оно может деформироваться.
Как вариант, можно воспользоваться готовыми бетонными плитами. При желании отделать натуральным камнем, если это будет смотреться гармонично с вашим домом. Для более декоративного варианта подойдет покрытие из булыжника или тротуарной плитки. Такой материал необходимо выкладывать очень плотно.
Для тех случаев, когда времени у вас мало и нужно менее дорогое покрытие, обратите внимание на армированные плиты. Выбирают их сугубо по критериям вашего дома и в индивидуальном порядке.
Слои в составе отмостоки
В структуру отмостки должны входить два основных слоя, чтобы в дальнейшем она могла качественно и долго функционировать.
Первый слой служит основой для целостной конструкции – подстилающий, толщина которого должна составлять порядка 20 см. Этот слой образует плотное и ровное основание для создания отмостки.
Основными материалами в составе слоя-подстилки выступают:
- Песок.
- Щебень.
- Глина.
- Гарцовка.
В случае использования глины, она будет хорошо выполнять задачу по изоляции от воды. Однако, все же стоит заметить, что материал для слоя-подстилки выбирается в зависимости от выше лежащего слоя – покрытия.
Итак, второй слой – наиболее важный, ведь именно от него зависит, насколько вся конструкция будет водонепроницаемой. Чаще всего толщина данного слоя составляет всего от 5 до 10 см, поскольку отмостка не берет на себя слишком большие нагрузки.
Для покрытия отмостки используют такие материалы:
- Тротуарная плитка.
- Асфальтобетон.
- Бетон.
- Камни.
- Глина.
Главным строительным нормативным документом по изготовлению отмостки является «Пособие по проектированию оснований зданий и сооружений» (к СНИП 2.02.01-83), пункты 3.182 и 4.30.
Основные моменты
Отвод воды от основания сооружения по отмостке осуществляется за счет уклона. Значение уклона определяется материалом покрывающего слоя. В случае если будет использоваться щебень, гравий или камни – уклон должен быть немалым и составлять порядка 5-10%. Однако для асфальта и бетона уклон можно делать несколько меньше – 3-5%, поскольку поверхность в этом случае будет более гладкая, и вода будет быстрее стекать.
Один из наиболее важный моментов, который обязательно следует учесть при строительстве отмостки – ширина. Ширина отмостки определяется на основании нескольких факторов:
1. Ширины карниза, т.е. выступа ската крыши относительно стен. При этом специалисты все же отмечают минимальное значение, меньше которого выбирать ширину крайне рискованно – 60 см.
2. Пучинистость грунта. Чем больше грунт подвержен деформации, тем шире должна быть отмостка. Например, в стандартных условиях ширину рекомендуют брать на 20 см больше ширины карниза. Если же просадка грунта может быть значительна, тогда ширину стоит брать и вовсе больше метра.
Для отведения воды с поверхности отмостки следует использовать желоба по краям. Вариантов изготовления таких желобов множество: от бетонного исполнения до укладки распиленных по длине на две части труб.
Возводимая отмостка не должна вплотную прилегать к фундаменту сооружения (цоколю), так как в результате усадки она способна повредить его облицовку.
Чтобы не испортить внешний вид фундамента при усадке возведенной отмостки, требуется создать компенсационный шов, разделяющий фундамент и отмосту, шириной 1-2 см. Этот шов заделываетсяодним из следующих материалов: песок, экструдированный пенополистирол, битум, герметик или двухслойным куском рубероида.
Технология создания отмостки
Прежде чем осуществлять работу по заливке отмостки вокруг вашего дома важно изучить ее технологию. Так, например, начинать весь процесс необходимо с грунта, точнее с его выемки. Для этого необходимо выкопать траншею вокруг всего дома. Глубина траншеи должна иметь глубину не меньше 25 см. Важно удалить корни всех растений, которые в дальнейшем могут нарушить целостность положенных плит. Не забудьте и о бордюрном камне, который необходимо установить по всей ширине отмостки. Затем нужно только утрамбовать подстилающий слой, в состав которого входит песок и щебень.
Еще одним правилом является то, что ширина отмостки должна превышать выступ крыши, дабы функция защиты была на высшем уровне.
Отмостка из булыжника
Основные моменты при укладке:
- Делается траншея
- Кладется песчаный слой, слой мелкозернистого щебня или гарцовки толщиной 10-20 см. Этот слой играет роль подстилающего.
- Кладется слой мелкого булыжника или камня толщиной 4-10 см. Щели между плитками заделываются песком.
Отмостка из тротуарной плитки (брусчатки)
Основные моменты при укладке:
- Делается траншея
- Кладется песчаный слой, слой щебня или гарцовки толщиной 10-20 см. Этот слой играет роль подстилающего.
- Кладется брусчатка. Щели между плитками заделываются песком. Размер отмостки берется в один или два ряда выложенной плитки, без ее обрезания.
Достоинства:
- большой срок службы;
- легкость замены.
Глиняная отмостка
Основные моменты при укладке:
- Делается траншея;
- Кладется песчаный слой толщиной 10 см с добавлением булыжника и утрамбовывается.
Отмостка из бетона
Бетонная отмостка самый распространенный вариант среди отмосток.
Основные моменты при укладке:
- Если грунт пучинистый, то подстилающий слой делается из слоя глины толщиной 10-15 см и слоя песка толщиной 6-8 см, а если нет, то только из глины.
- Сооружаются деформационные швы, которые предохраняют покрытие из бетона от разрывов в зимний период времени. Такими швами могут служить деревянные рейки, обмазанные битумом, которые укладываются ребром через каждые 2,5-3 м. Верхнее ребро реек располагается на уровне бетонного покрытия, учитывая уклон отмостки.
- Заливается слой бетона по рейкам, используемым также в качестве маяк для выравнивания.
- Зажелезивается слой бетона для улучшения гидроизоляции. Используя мастерок несколько раз покрываем покрытие цементом, покрываем все это мокрой тканью на 7 дней и на протяжении этих 7 дней поливаем ткань для обеспечения постоянной влажности.
Чтобы бетонное покрытие для отмостки дольше сохранялось, его необходимо армировать. Армирование предотвратит его проседание. Армировку можно сделать из металличческой сетки, ячейки которой имеют размерность 100х100 мм, сохраняя деформационные швы.
В этой статье можно узнать информацию про армирование фундамента стеклопластиковой арматурой.
Отмостка из асфальтобетона
Основные моменты при укладке:
- Делается и утрамбовывается траншея;
- Кладется слой щебня толщиной 15 см;
- Кладется слой асфальта толщиной 3 см.
Водопроницаемая отмостка
Водопроницаемая отмостка подходит для домов, по периметру которых сооружен дренаж. Такую отмостку достаточно просто соорудить.
Основные моменты:
- Делается траншея, в которую кладется глина и утрамбовывается
- Далее кладется слой геотекстиля, поверх которого насыпается слой щебня фракцией 8-32 мм (можно также использовать гравий, гальку или керамзит) толщиной 10 см.
Мягкая отмостка
Основные преимущества такой отмостки состоят в создании опрятного внешнего вида и использовании ее в качестве тротуара.
Основные моменты при укладке:
- Кладется нижний слой глины толщиной 15 см без песка и других подобных примесей, трамбуется и выравнивается. Отсутствие примесей предотвратит вздутие слоя.
- На слой глины кладется любая пленка гидроизоляции, но не рубероид.
- Далее кладется песчаный слой толщиной 5 см.
- Следующим слоем кладется геотекстильный материал, защищающий дренажное пространство.
- Кладется слой щебня толщиной 10-15 см, образующий дренаж. Через этот слой легко проникает вода и достигает слоя гидроизоляции, который отводит воду от фундамента.
- Кладется еще один слой геотекстильного материала.
- Далее кладется песчаный слой толщиной 5 см.
- Кладется термостойкий и влагостойкий слой.
Геотекстильный материал для отмостки
Геотекстильный материал (объемная георешетка, геосетка, геомембрана) используется в качестве разделителя различных по функциональности слоев и образования дренажного пространства. Геотекстиль используется для отмостки, которая будет существовать в суровые зимы.
Брусчатку, которая кладется с использованием раствора или бетонной смеси, лучше не применять при возведении отмостки, которая будет эксплуатироваться зимой. Вследствие изменения температур, приводящее к изменению состояния грунта, отмостка может отслоится от фундамента сооружения. В результате образуются щели и трещины, в которые проникает вода и затапливает фундамент, постепенно его разрушая.
Чтобы соорудить отмостку, легко функционирующую зимой, она должна иметь прослойку гидроизоляции (какой-нибудь полимерный материал) и водоотводящий дренаж. Для дренажной прослойки нужно использовать термоскрепленные нетканные геотекстильные материалы малой толщины, имеющие повышенные фильтрующие свойства, в отличие от иглопробивных геотекстилей.
Нетканный термоскрепленный геотекстиль:
Нельзя класть брусчатку, используя раствор, поскольку при сильных морозах отмостка даст трещины.
Экономичный вариант с использованием геотекситьного материала:
При экономичном варианте геотекстиль разделяет слой щебня и слой песка. Если слой геотекстиля будет отсутствовать, то слой щебеня, играющий роль дренажа, начнет смешиваться со слоем песка, расположенном ниже, и в результате дренажное пространство, отводящее воду, будет исчезать.
Стандартный вариант отмостки с использованием геотекситьного материала:
В стандартном варианте дренажом служит прослойка щебня, обернутая геотекстилным материалом, выполняющим роль фильтра. Этот «фильтр» предотвращает просачивание песка к дренажной прослойке и служит как разделитель.
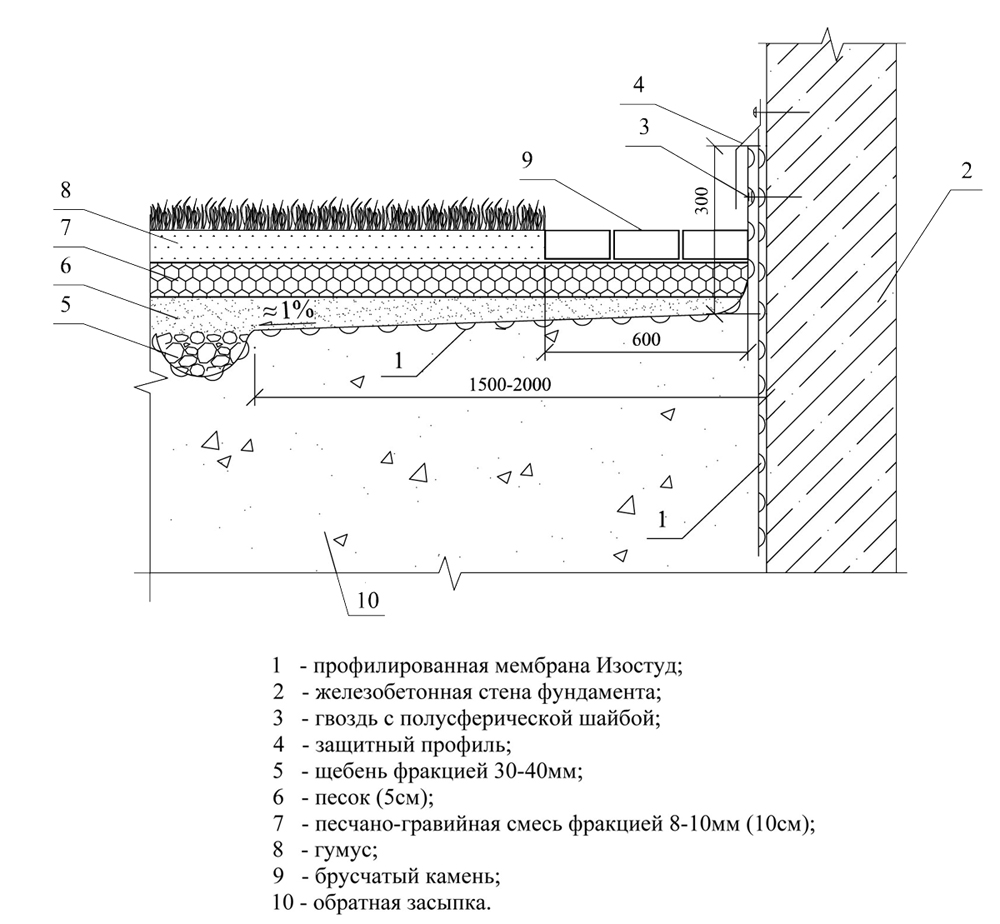
Пример выполнения отмостки с применением профильной геомембраны Изостуд:
Теплоизоляция отмостки возле дома
Сооружая отмостку на пучинистом грунте, не забудьте сделать ее теплоизоляцию. Как отмечалось выше, такой вид грунта сильно подвержен деформациям из-за повышенного насыщения влагой. При промерзании вода расширяет, что в свою очередь приводит к вспучиванию грунта, при оттаивании наоборот – грунт можно значительно просесть.
Разнородность нагрузок в зависимости от сезонности негативно сказывается на прочности и долговечности фундаментных конструкций дома. Таким образом, функция утеплителя состоит в том, чтобы не дать грунту замерзнуть и предотвратить его вспучивание. В качестве утеплителя для отмостки можно использовать экструдированный пенополистирол, который не поглощает влагу.
Кстати, на нашем сайте есть статья об использовании пенополистирола для теплого пола. В ней представлена информация о видах утеплителей и правилах монтажа.
Как утеплить стены пенопластом своими руками? Узнайте прямо сейчас!
В составе отмостки он располагается под покрывающей прослойкой. Утеплитель не должен подвергаться высоким нагрузкам, поэтому верхний слой изготавливается из прочного материала, способного взять на себя нагрузку – бетона, плитки или камня. Использование в рассматриваемом случае гравия, щебня или керамзита неоправданно.
Если отмостка покрыта бетоном, тогда утепляют ее при помощи воздушной подушки, а основу делают из щебня. В свою очередь, щебень пропитывают битумом и утрамбовывают.
Как делается гидроизоляция отмостки?
Для гидроизоляции используют такие материалы, как ПВХ-пленка, которая используются для строительства искусственных водоемов. Использовать можно и полиэтиленовую пленку. Утеплители укладываются на грунт, чтобы улучшить режим температуры фундамента, а затем кладутся остальные слои отмостки.
Таким образом, мы видим, что подход к заливке отмостки вокруг дома должен быть очень деликатным и индивидуальным, дабы получить качественный результат на долгие годы.













